在医疗机构中使用,用于内窥镜诊断和/或治疗手术中,为内窥镜观察人体体腔的视场区域提供观察用照明。用于近红外荧光成像时,需配合已在中国境内批准上市且应用部位一致的吲哚箐绿使用的医用内窥镜荧光冷光源,在我国属于第二类医疗器械注册产品。医用内窥镜荧光冷光源由主机、电源线组成。本文为大家介绍医用内窥镜荧光冷光源注册及医疗器械临床评价要点,一起看正文。
在医疗机构中使用,用于内窥镜诊断和/或治疗手术中,为内窥镜观察人体体腔的视场区域提供观察用照明。用于近红外荧光成像时,需配合已在中国境内批准上市且应用部位一致的吲哚箐绿使用的医用内窥镜荧光冷光源,在我国属于第二类医疗器械注册产品。医用内窥镜荧光冷光源由主机、电源线组成,其中光源主机由光源(LED 灯泡模块和LD激光灯泡模块)、电源部分、光学装置系统、控制电路、风扇、触摸屏、外壳以及内部连接线组成,不含导光束。本文为大家介绍医用内窥镜荧光冷光源注册及医疗器械临床评价要点,一起看正文。

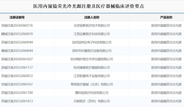
医用内窥镜荧光冷光源注册及医疗器械临床评价要点
(一)工作原理:电源模块给各功能模块进行供电,上电后用户通过触摸屏输入控制命令,光源控制模块
解析指令并控制 LED 及 LD 光源驱动模块,实现对光源的调节,从而将可见光及近红外光能量传输到照
明物或者其他照明系统。在荧光模式下,发出的近红外激发光照射具有荧光显影剂吲哚箐绿(ICG)的组
织而显示荧光图像。
(二)材料:不与人体直接或间接接触。
(三)电气安全:符合 GB9706.1-2020、GB 9706.218-2021、GB 7247.1-2012 的相关要求。
(四)电磁兼容:符合 YY9706.102-2021、GB 9706.218-2021 的相关要求。
(五)临床评价:临床评价:该产品依照《医疗器械临床评价技术指导原则》,与同品种器械鹰利视医疗
科技有限公司生产的医用内窥镜荧光冷光源(苏械注准 20222061780)在适用范围、技术特征、生物学特
性等方面相似。通过搜集同类产品的临床数据,证明该类产品在临床使用中的安全有效。
如有医用内窥镜荧光冷光源注册,或其他第二类医疗器械注册咨询服务需求,欢迎您随时方便与杭州证标客医药技术咨询有限公司联络,联系人:吕工,电话:18058734169,微信同。