医疗器械法规、注册、临床、体系认证、信息系统一站式服务
24×7服务热线:0571-86198618 简体中文 ENGLISH
当前位置:网站首页>新闻动态
  • 数据型移动医疗附件与特定的医疗器械配套使用时,是否可以作为独立的医疗器械注册单元? IT技术、人工智能的发展深科的改变着我们的生活,医疗行业也不例外,越来越多的医疗器械软件、数据行移动医疗器械注册产品在临床上推广、使用。我们医疗器械注册人也是需要持续学习、持续更新自己的技能包。本文为大家说所数据型移动医疗附件与特定的医疗器械配套使用时,是否可以作为独立的医疗器械注册单元,一起看正文。 时间:2025-10-14 0:00:00 浏览量:49
  • 温州市第一类医疗器械产品备案之创口贴备案要点 创口贴是最常见的第一类医疗器械备案产品之一,尽管属于一类器械,但由于创口贴的预期用途是护创并且接触皮肤,做好创口贴产品备案也并并非易事。正好,今天有温州客户问到这个典型产品,因此,写个文章为大家说说温州市第一类医疗器械产品备案之创口贴备案要点,一起看正文。 时间:2025-10-14 0:00:00 浏览量:49
  • 自动荧光显微扫描分析仪注册及医疗器械临床评价要点 自动荧光显微扫描分析仪由光学成像系统,图像扫描系统,工作站(选配),自动荧光显微扫描分析系统软件组成。用于对荧光染色的阴道分泌物显微图像进行观察、筛选、存储及管理。本产品不单独用于病理诊断,不单独作为临床诊疗决策依据,所有经软件判读的样本最终结果需要医师确认。本文为大家介绍自动荧光显微扫描分析仪注册及医疗器械临床评价要点,一起看正文。 时间:2025-10-13 22:24:47 浏览量:58
  • 第一类医疗器械产品备案要点之导光凝胶备案注意事项 多数凝胶属于第二类医疗器械注册产品,但是用于光子治疗过程中隔热和导光,与光子治疗设备配合使用的导光凝胶属于第一类医疗器械,按照第一类医疗器械产品备案劥。本文为大家介绍“导光凝胶(09-03-08)”进行产品备案时,申请人应重点关注哪些问题?一起看正文。 时间:2025-10-13 0:00:00 浏览量:64
  • 销售康复踏车需要办理医疗器械经营许可证吗? 越来越多、越来越好的康复产品出现在医疗机构、家庭,在健康康复过程中发挥了巨大作用,但因为康复产品有久远的应用历史,其应用远远早于医疗器械监管法规的出台,因此,康复产品的经营一直是违规风险高发。今天正好有客户打电话给我,问到销售康复踏车是否需要办理医疗器械经营许可证,因此,写个文章,说说这个事儿。 时间:2025-10-12 0:00:00 浏览量:76
  • 第二类医疗器械注册(康复踏车)要点 康复踏车(简称踏车)由康复踏车主架构、康复踏车仪表组件、脚踏、电源线组成,可搭配座椅护栏使用。康复踏车适用于对患者下肢进行主动性训练。康复踏车在我国属于第二类医疗器械注册产品,本文为大家介绍康复踏车注册要点,一起看正文。 时间:2025-10-12 0:00:00 浏览量:74
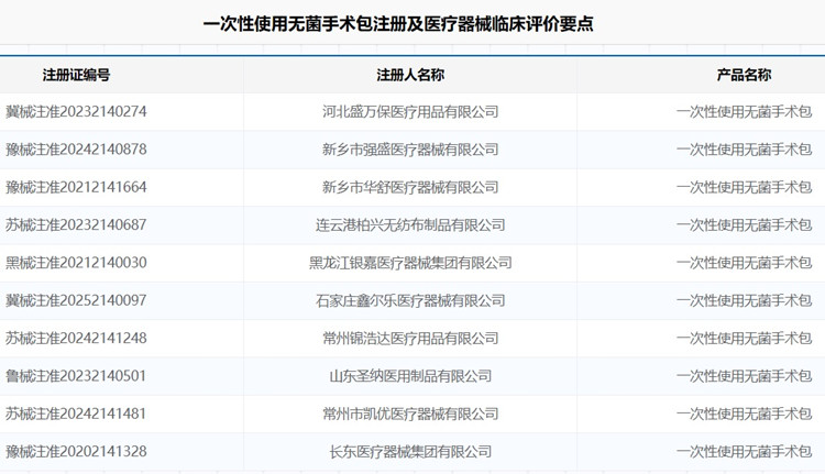
  • 一次性使用无菌手术包注册及医疗器械临床评价要点 供医疗机构临床手术时卫生防护用的一次性使用无菌手术包在我国属于第二类医疗器械注册产品,包类医疗器械的医疗器械注册检验、临床评价与常规器械都有很大区别,本文为大家介绍一次性使用无菌手术包注册及医疗器械临床评价要点,一起看正文。 时间:2025-10-11 0:00:00 浏览量:105
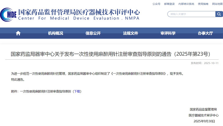
  • 一次性使用麻醉用针产品技术要求及医疗器械注册要点 2025年10月11日,为进一步规范一次性使用麻醉用针的管理,国家药监局器审中心组织制定了《一次性使用麻醉用针注册审查指导原则》,本指导原则适用的麻醉用针用于对人体进行穿刺、注射药物,包括硬膜外穿刺针、腰椎穿刺针、联合麻醉套针、神经阻滞穿刺针。产品无菌提供,一次性使用。我们一起来学习、了解一次性使用麻醉用针产品技术要求及医疗器械注册要点,一起看正文。 时间:2025-10-11 0:00:00 浏览量:106
  • 自动调节正压通气治疗机注册及同品种比对临床评价要点 自动调节正压通气治疗机由主机(含过滤绵)、湿化器水罐、电源适配器(含电源线)组成。适用于临床治疗阻塞性睡眠呼吸暂停(OSA),患者体重须在30公斤以上。适用于家庭和医院环境。本产品不可用于生命支持。湿化器适用于湿化治疗机输送的空气。湿化器适用于患者在家中单人使用以及在医院/医疗机构中重复使用。只能按照医嘱使用治疗机和湿化器。本文为大家介绍自动调节正压通气治疗机注册及同品种比对临床评价要点。 时间:2025-10-10 0:00:00 浏览量:79
  • 医学影像处理系统注册及医疗器械临床评价要点 医学影像处理系统由架车和安装医学影像处理系统软件的计算机主机、打印机、显示器组成,分别适用于阴道镜、胃镜、超声诊断仪、X光机、CT、内窥镜视频信号和显微镜视频信号的影像的处理和病案管理。医学影像处理系统在我国属于第二类医疗器械注册产品,本文为大家介绍医学影像处理系统注册及医疗器械临床评价要点,一起看正文。 时间:2025-10-10 0:00:00 浏览量:72
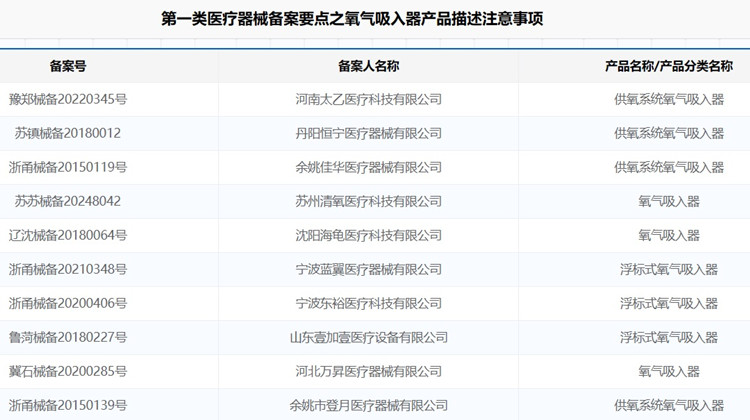
  • 第一类医疗器械备案要点之氧气吸入器产品描述注意事项 对于第一类医疗器械备案产品来说,特别重要的是产品结构组成、预期用途、作用机理这些会影响产品管理类别事项的描述,本文为大家介绍氧气吸入器产品描述注意事项,一起看正文。氧气吸入器备案。 时间:2025-10-9 0:00:00 浏览量:77
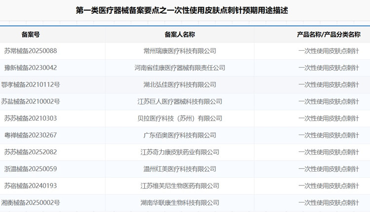
  • 第一类医疗器械备案要点之一次性使用皮肤点刺针预期用途描述 对于第一类医疗器械备案事项来说,预期用途的描述极其重要,必须准确且明确,预期用途描述偏差可能会让器械成为二类器械或是三类器械。本文为大家介绍一次性使用皮肤点刺针预期用途描述,一起看正文。 时间:2025-10-9 0:00:00 浏览量:86
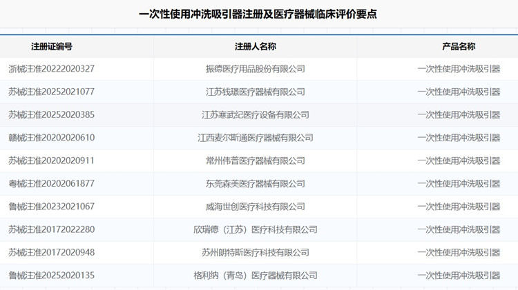
  • 一次性使用冲洗吸引器注册及医疗器械临床评价要点 一次性使用冲洗吸引器按外形分为A型枪式型和B型直握型两种,用于配合腹腔镜手术中冲洗组织器官及抽吸废液。一次性使用冲洗吸引器在我国属于第二类医疗器械注册产品,本文为大家介绍一次性使用冲洗吸引器注册及医疗器械临床评价要点。 时间:2025-10-8 0:00:00 浏览量:90
  • 一次性使用无菌球囊子宫支架套装注册及医疗器械临床评价要点 一次性使用无菌球囊子宫支架套装由带球囊的硅橡胶支架和附件推注器(仅用于充盈球囊)组成。其中带球囊的硅橡胶支架由球囊、导管和充盈接头组成。该产品以无菌状态提供,经环氧乙烷灭菌。一次性使用。适用于子宫内外科手术之后的宫内置放,减少子宫出血。一次性使用无菌球囊子宫支架套装在我国属于第二类医疗器械注册产品,本文为大家介绍一次性使用无菌球囊子宫支架套装注册及医疗器械临床评价要点,一起看正文。 时间:2025-10-8 0:00:00 浏览量:91
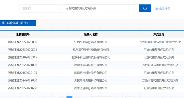
  • 可旋转重复开闭软组织夹注册及医疗器械临床评价要点 可旋转重复开闭软组织夹是由夹子组件、拉索组件、过渡帽、远端弹簧管、过渡件、内塑管、外管、护套管、定位帽和手柄组成,该产品以无菌状态提供,经环氧乙烷灭菌,一次性使用。与内窥镜配套使用,用于在消化道内放置夹子。夹子用于内窥镜下的标记、消化道组织的止血。可旋转重复开闭软组织夹在我国属于第二类医疗器械注册产品。 时间:2025-10-7 0:00:00 浏览量:88
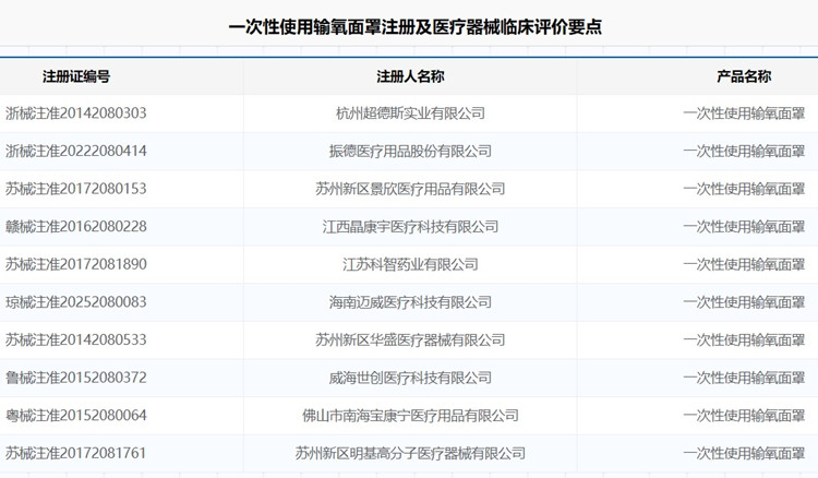
  • 一次性使用输氧面罩注册及医疗器械临床评价要点 一次性使用输氧面罩分为普通型、蓄氧面罩型和可调浓度型。普通型由氧气面罩组成,部分规格带呼吸指示装置和氧气管。蓄氧面罩型由氧气面罩、单向逆止膜片、储氧袋和氧气管组成,部分规格带呼吸指示装置。可调浓度型由氧气面罩、可调文丘里阀和氧气管组成。产品以无菌状态提供,经环氧乙烷灭菌,为一次性使用。用于对缺氧患者进行输氧,作为氧气进入患者体内的通道。一次性使用输氧面罩在我国属于第二类医疗器械注册产品. 时间:2025-10-7 0:00:00 浏览量:80
  • 一次性使用清创护理包注册及医疗器械临床评价要点 考虑到包类医疗器械注册产品的特定应用场景,可以预见的是越来越多的包类医疗器械在临床上的广泛应用。供临床清创用的一次性使用清创护理包,在我国属于第二类医疗器械注册产品,且在免于医疗器械临床试验目录内,本文为大家介绍一次性使用清创护理包注册及医疗器械临床评价要点,一起看正文。 时间:2025-10-6 0:00:00 浏览量:122
  • 定制式牙科种植用导板注册及医疗器械临床评价要点 定制式牙科种植用导板由基板和导环制成,基板采用树脂材料(丙烯酸),根据CAD模型,通过3D打印技术(数字光固化成型法)制成。导环采用钛合金材料(牌号为TC4ELI)制成。该产品以非无菌状态提供。用于牙科种植手术中种植体的定位、导向,从而辅助安装种植体。定制式牙科种植用导板在我国属于第二类医疗器械注册产品,且在免于医疗器械临床目录内,本文为大家介绍定制式牙科种植用导板注册及医疗器械临床评价要点。 时间:2025-10-6 0:00:00 浏览量:107
  • 便携式动态血压仪注册与同品种比对临床评价要点 便携式动态血压仪由主机、嵌入式软件(发布版本:1)、袖带(选配)组成,袖带为外购有医疗器械备案凭证的产品,用于24小时内设定的不同时间段里多次或单次测量人体的收缩压、舒张压、脉率(不适用于3岁以下的小儿)。便携式动态血压仪在我国属于第二类医疗器械注册产品,且不在免于医疗器械临床试验目录之内,本文为大家介绍便携式动态血压仪注册与同品种比对临床评价要点,一起看正文。 时间:2025-10-5 0:00:00 浏览量:104
  • 一次性使用胆道扩张导管注册及同品种比对临床评价要点 一次性使用胆道扩张导管由导管、显影环、护套管及手柄组成。该产品以无菌状态提供,经环氧乙烷灭菌。一次性使用,产品用于在荧光屏监视下,沿导丝经口腔或鼻腔插入胆道,进行胆道狭窄的扩张。一次性使用胆道扩张导管在我国属于第二类医疗器械注册产品,且不在免于医疗器械临床试验目录之内。本文为大家介绍一次性使用胆道扩张导管注册及同品种比对临床评价要点,一起看正文。 时间:2025-10-3 0:00:00 浏览量:107

Copyright © 2018 医疗器械注册技术咨询 浙ICP备18025678号 技术支持:熙和网络