医疗器械法规、注册、临床、体系认证、信息系统一站式服务
24×7服务热线:0571-86198618 简体中文 ENGLISH
当前位置:网站首页>新闻动态 >第一类医疗器械备案要点之一次性使用皮肤点刺针预期用途描述
第一类医疗器械备案要点之一次性使用皮肤点刺针预期用途描述
发布日期:2025-10-09 00:00浏览次数:833次
对于第一类医疗器械备案事项来说,预期用途的描述极其重要,必须准确且明确,预期用途描述偏差可能会让器械成为二类器械或是三类器械。本文为大家介绍一次性使用皮肤点刺针预期用途描述,一起看正文。

对于第一类医疗器械备案事项来说,预期用途的描述极其重要,必须准确且明确,预期用途描述偏差可能会让器械成为二类器械或是三类器械。本文为大家介绍一次性使用皮肤点刺针预期用途描述,一起看正文。

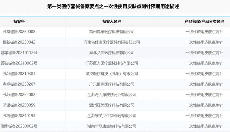
一次性使用皮肤点刺针备案.jpg

按照第一类医疗器械备案管理的“一次性使用皮肤点刺针(02-07-02)”进行产品备案时,医疗器械备案申请人应如何描述产品预期用途?

第一类医疗器械备案申请人应按照《国家药监局关于第一类医疗器械备案有关事项的公告》(2022年第62号)及《国家药监局关于发布第一类医疗器械产品目录的公告》(2021年第158号)等文件要求描述产品预期用途。《第一类医疗器械产品目录》中02-07-02一次性使用皮肤点刺针的预期用途为“用于探、拨、挑、刺组织。不得用于注射”。不应当超出《第一类医疗器械产品目录》规定的内容,如产品预期用途声称可“用于点刺皮肤,在皮肤表面形成通道,促进药液或医疗器械溶液(如水光针)经这些通道被人体吸收”或“用于注射药液或医疗器械溶液(如水光针)”的一次性使用皮肤点刺针。经风险研判,这类产品实际与《医疗器械分类目录》14-01-06注射针风险类似,不能按照第一类医疗器械办理备案。

如有一次性使用皮肤点刺针备案、杭州市第一类医疗器械备案、宁波市第一类医疗器械备案、温州市第一类医疗器械备案、台州市第一类医疗器械备案、湖州市第一类医疗器械备案、嘉兴市第一类医疗器械备案代办服务需求,欢迎您随时方便与杭州证标客医药技术咨询有限公司联络,联系人:吕工,电话:18058734169,微信同。

Copyright © 2018 医疗器械注册技术咨询 浙ICP备18025678号 技术支持:熙和网络